时间:2025-12-25 16:12
来源:中国固废网
作者:沃斯坦热力设备(天津)有限公司
为促进行业交流进步,便于行业同侪互学互促,推动中国环境产业转型升级。E20环境产业圈层特推出《固废行业优秀案例汇编》,汇集了近100例案例,涉及城市矿山、一般工业固废、土壤修复、危险废弃物、环卫、有机废弃物、生活垃圾、建筑垃圾等领域。
项目名称:浙江春晖环保能源股份有限公司0#1#5#垃圾焚烧炉烟气净化提标改造项目
推荐单位:沃斯坦热力设备(天津)有限公司
参与环节:设备
项目所在地:浙江省绍兴市
项目概况
本期项目规模为2×500t/d+1×600t/d垃圾焚烧炉烟气处理系统,0#炉、1#炉采用SNCR(利旧)+SCR烟气脱硝+单碱法脱酸技术,5#炉采用SNCR(利旧)+SCR烟气脱硝技术。
本工程场地整体规划,3台炉各设备整体布置于新建场地内。主要工程内容为:1#焚烧炉在原有的SCR脱硝系统后增加湿法脱酸+碱液存储及输送系统;0#焚烧炉在原有布袋除尘器后增加SCR(催化剂180℃)+湿法脱酸+碱液存储及输送系统;5#炉在原有布袋除尘器后增加 SCR(催化剂180℃),以及更换3台炉的相关烟道。其中,0#炉、1#炉需新增GGH换热器。
项目亮点
1、技术升级
(1)焚烧炉原配套的环保路线:SNCR(PNCR)→SDA干法脱酸(硫)塔→辅助干法脱酸及活性炭喷射→布袋除尘→引风机→烟囱。本工程在原有SNCR脱硝及SDA脱酸的基础上,新增一套 SCR深度脱硝系统及一套NaOH湿法脱酸,将各环保指标控制在允许排放浓度以下。
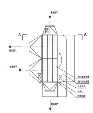
(2)SCR 出口的高温未净化烟气从上向下进入氟塑料GGH换热器管程,通过气-气换热来加热湿法塔净化后的低温烟气,该低温净化烟气从氟塑料 GGH 换热器壳程的一侧水平进入,在GGH内经过1次折返,2次对流换热,从同侧水平排出,然后进入引风机后排入烟囱。GGH 换热器本体主要由换热管、管板、壳体侧墙组成。换热管为改性PTFE管,管板采用碳钢+PTFE内衬,GGH 内部凡与烟气相接触的部位都使用PTFE内衬防腐,侧墙也采用PTFE内衬防腐。

2、使用寿命长,换热效率高,提升烟气处理效能
(1)垃圾焚烧烟气中含有大量酸性气体(如二氧化硫、氯化氢)和水蒸气,传统金属换热器易因腐蚀导致寿命缩短、维护成本增加。沃斯坦氟塑料换热器以聚四氟乙烯(PTFE)为核心材料,具有零腐蚀特性,可长期耐受强酸、强碱及有机溶剂侵蚀,这一特性解决了行业痛点,为高腐蚀环境下的烟气处理提供了可靠方案。
(2)沃斯坦换热器采用列管式结构,烟气流动顺畅,不易堵塞,且材料自身具有良好的自清洁性,不易积灰、防粘连,保障了生产稳定性。

示范意义
浙江春晖环保能源股份有限公司的垃圾焚烧炉技改项目采用氟塑料换热器,其示范意义主要体现在技术突破引领行业升级、环境效益推动绿色转型、经济价值验证市场潜力三个方面,具体分析如下:
一、技术突破:氟塑料换热器破解行业难题,引领垃圾焚烧技术升级
垃圾焚烧烟气具有强腐蚀性(含硫、氯、酸性气体等),传统金属换热器易因腐蚀导致寿命短、维护成本高。氟塑料换热器以聚四氟乙烯(PTFE)为核心材料,具备以下优势:
零腐蚀;零泄漏;零耗能;不沾灰、不堵塞;原烟气与脱硫后净烟气无混合。
氟塑料换热器为垃圾焚烧领域提供了一种高效、耐用的余热回收解决方案,推动技术迭代。
二、环境效益:实现超低排放
超低排放:烟气经“SNCR+半干法+干法+活性炭+布袋+SGH+SCR”工艺处理后,颗粒物、二氧化硫、氮氧化物排放浓度分别低于10mg/m³、30mg/m³、80mg/m³,优于欧盟标准。氟塑料换热器在烟气治理环节中,确保烟气排放温度稳定在120℃以上,减少二噁英二次合成,同时抬升烟气排放高度,降低污染物落地浓度,推动行业向绿色低碳转型。
三、经济价值:长寿命与低维护成本,验证商业可行性
氟塑料换热器的经济优势在项目中得到充分体现:
1、全生命周期成本低:虽初期投资高于金属换热器,但20年寿命远超金属材质,且无需防腐涂层,维护成本降低70%以上。
2、运行效率稳定:自清洁特性减少停机清洗时间,提高设备利用率,保障烟气处理系统稳定运行。
项目通过实际运行数据验证了氟塑料换热器的经济性,推动行业采用更高效的余热回收技术。
编辑:王秀
版权声明: 凡注明来源为“中国水网/中国固废网/中国大气网“的所有内容,包括但不限于文字、图表、音频视频等,版权均属E20环境平台所有,如有转载,请注明来源和作者。E20环境平台保留责任追究的权利。
